本標準規定了起重機車輪用轉軸式圓柱車輪的結構型式、尺寸、踏面形狀以及車輪直徑與軌道的匹配。
本標準適用于橋、門式起重機和冶金起重機用的起重機車輪,其他起重機用的起重機車輪也可以參照使用。
2、引用標準
GB 181 每米 50公斤鋼軌型式尺寸
GB 181 每米 43公斤鋼軌型式尺寸
GB 181 每米 38公斤鋼軌型式尺寸
GB 181 每米 起重機鋼軌
GB 181 輕軌
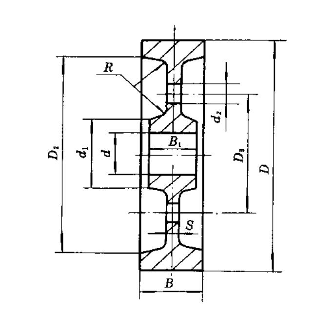
3、型式與尺寸
車輪按其結構形狀分為以下三種型式:
a 雙輪緣車輪,代號為SL
b 單輪緣車輪,代號為DL
c 無輪緣車輪,代號為WL


4、起重機車輪型號表示方法

5、標記示例

6、踏面形狀與軌道的匹配

起重機車輪標準知識


